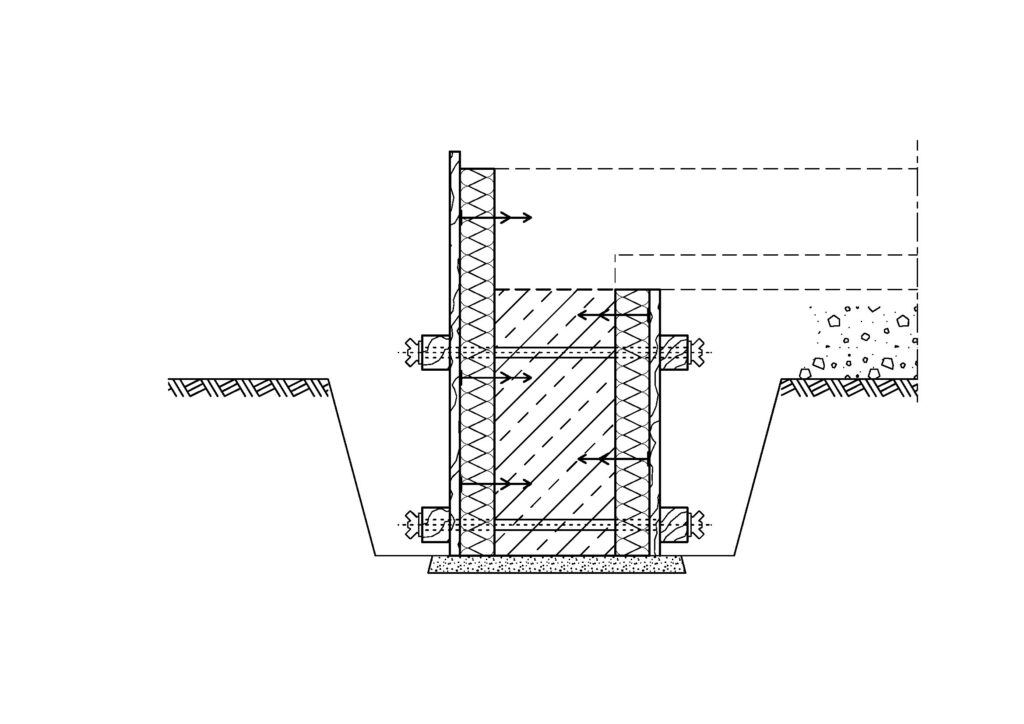
IsoLohr® Bodenplattensystem

Zeit- und Kostenersparnis

IsoLohr® Bodenplattensystem

  • Passgenaues Schalungssystem mit maßgenauem Zuschnitt aller Ecken, Versprünge und Rundungen
  • Kein Schalmaterial bzw. keine Abstützung notwendig 
  • Hochwertige Dämmstoffe mit Zulassung als lastabtragende Wärmedämmung unter Gründungsplatten und dauerhafter Widerstandsfähigkeit gegen Wasser 
  • Ausführung mit Frostschirm gemäß DIN EN ISO 13793
  • Detaillierte Montagepläne für einfache Verlegung im Klebe-Stecksystem
  • Kostengünstig durch Zusammenfassung verschiedener Teilarbeiten  und kurze Montagezeiten
  • Objektbezogene Planung und Anfertigung für jeden Haustyp

Konventionelle Lösungen im Vergleich

  • Bereitstellung von Schalmaterial

  • Abschalen der gesamten Bodenplatte

  • Beschaffung des Dämmstoffs

  • Zuschneiden der Randdämmung (Verschnitt)

  • Anbringen von Ankernägeln

  • Abstützung ca. alle 1,50 m

  • Hoher Zeit- und Kostenaufwand

  • Ausschalen und Abtransport der Schalung

  • Erstellen des Sockelputzes

Zeit- und Kostenersparnis am Beispiel Frostschirm und Sockelplatte

  • Zeitersparnis bis zu 2,5 Arbeitstage
  • Kostenersparnis bis zu 3.000 Euro (je nach Frosteindringtiefe)
  • geringer Maschineneinsatz

Bei einer Gebäudegröße von 100 m² mit einem Umfang von 40 m ergeben sich folgende Vorteile:

IsoLohr® Bodenplattensystem

Humus abtragen, Aushub bis UK Schottertragschicht, Einbau Schotterschicht

Splittbett abziehen

Aufbau IsoLohr® Bodenplattensystem

Bodenplatte bewehren und betonieren

Fertige Ausführung

2,5 Tage
Zeitersparnis

Konventionelle Lösung im Vergleich

Humus abtragen, Aushub bis UK Schottertragschicht, Einbau Schotterschicht

Bodenaushub für Frostschürze und Entsorgung

Frostschürze einschalen, dämmen und betonieren

Frostschürze innen ausschalen, Arbeitsraum verfüllen, Bodendämmung verlegen und Bodenplatten abstützen

Frostschürze außen ausschalen, Arbeitsraum verfüllen, Bodenplatte bewehren und betonieren

Überdämmung Bodenplatte und Sockelplatte anbringen

Fertige Ausführung

Unser IsoLohr® Bodenplattensystem

Anfrageformular

Info

Die Druckfestigkeit der Bodendämmung wird, sofern keine anderen Angaben erfolgen, mit einem Bemessungswert fcd = 185 kPa (Stauchung < 2 % in 50 Jahren) bzw. 300 kPa nach DIN EN 826 angeboten.

Kontaktdaten

Projektdaten

Mit Klick auf „Anfrage senden“ bestätigen Sie, die Datenschutzerklärung gelesen zu haben.

DF120 & DF120A

Deckenrandschalung-DF-120-A-M